

Compensator de montaj
Aplicații: In rețele de distribuție a apei și în instalații industriale pentru a facilita montajul și protejarea conductelor.
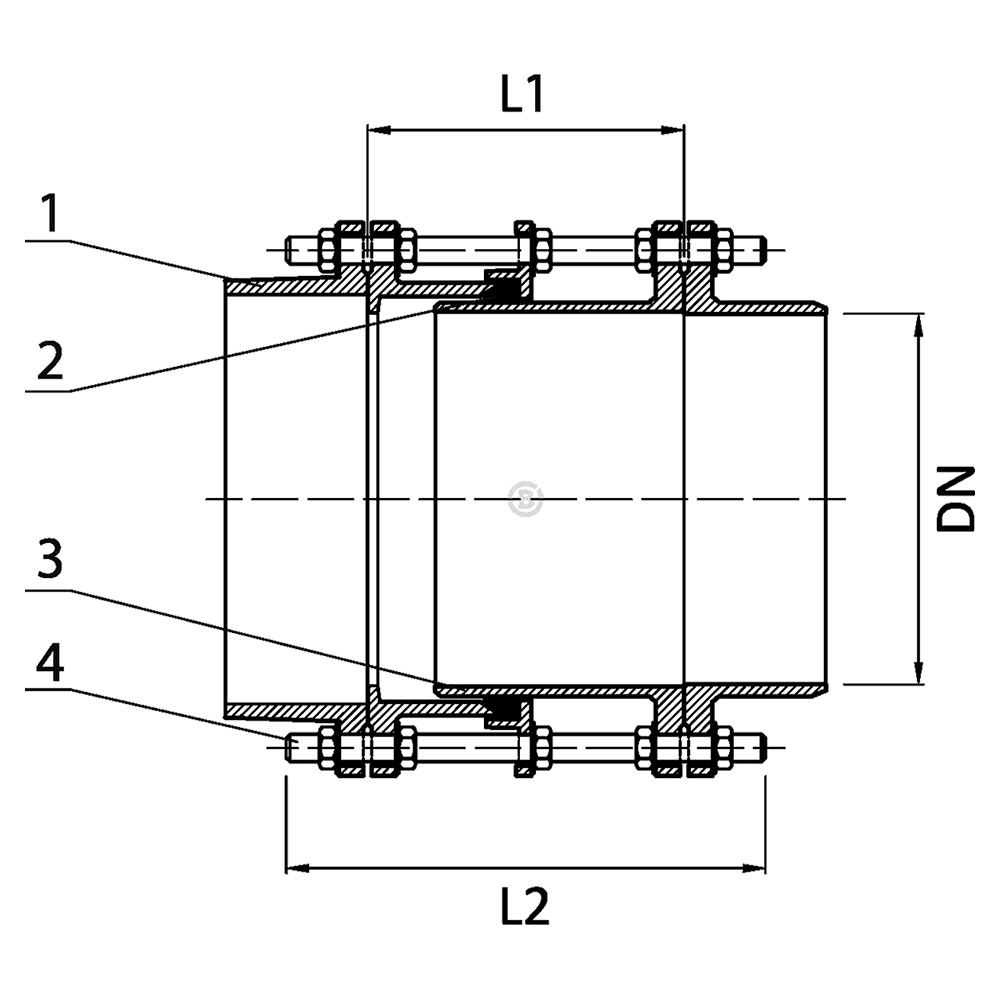
Compensatorul de montaj este o piesă din fontă ductilă, cu flanșe, care are rolul de a absorbi variațiile de lungime și tensiunile din conducte. Face legătura între două segmente de țeavă, compensând micile diferențe de aliniere și dilatarea termică.
Caracteristici de proiectare :
- Permite ajustarea axială a conductelor la montaj.
- Design robust din fontă ductilă pentru rezistență mecanică ridicată.
- Etanșare asigurată prin garnitură EPDM rezistentă.
- Acoperire epoxidică pentru protecție anticorozivă și durată lungă de viață.
Caracteristici tehnice :
- Conexiuni la capătul flanșei conform EN1092-2: PN10/PN16
- Proiectat conform EN545
- Presiune maximă de lucru: PN16 / 16 bar
- Temperatură de lucru: 0°C - +70°C
- Culoare: RAL5015
- Acoperire cu pulbere epoxidică, grosime 250 μm
- Corp din fontă ductilă EN-GJS-500-7
- Șuruburi, piulițe și șaibe: oțel zincat 8.8 / inox
- Garnitură: EPDM
- Opțiuni suplimentare
- Marcaje personalizate pentru identificarea rețelei sau brandului.
